
早期的监控工作主要侧重于硬件层面,运维人员往往是在问题发生后才能进行干预,犹如置身“黑洞”。随着IT系统的复杂性增加,运维监控的重点逐渐转移到了软件层面,监控工具需要具备更高的灵活性和更广的监控范围。于是自动化和高级的监控工具出现了,打破了“黑洞”。
随着IT运维面临着更多的挑战和机遇,监控工具也变得更加智能化,能够实时收集数据、分析趋势、预测问题,并在某些情况下自动采取措施解决问题,躲避了“踩坑”。
打破了“洞”,躲避了“坑”,拆掉IT运维与业务之间的“墙”仍然值得探索。
另外,尽管市场上存在许多成熟的开源监控系统,但这些系统往往在灵活性、配置复杂性、功能受限、集成兼容性等方面存在一些不足。传统监控系统可能面临响应延迟、覆盖范围有限等问题。如何拆墙?这些问题如何解决?“中亦乐维监控产品”提供了一种行之有效的解决方案。

中亦乐维监控产品MCM功能架构
以业务为中心
打通业务和运维 重塑运维岗位能力
当我们讨论将业务和IT运维融合的时候,我们谈的是什么?我们谈的是一种新的管理方式,这种方式让业务和IT资源之间的关系更加紧密,使得故障定位更加迅速,问题响应更加即时。
这正是“中亦乐维监控产品”所做的工作。简单来说,这个平台帮助重塑了运维岗位的能力。
它使得运维团队能够从业务的角度来管理IT资源,这样做的好处是双重的:一方面,能够快速发现并应对可能影响业务的问题;另一方面,它还帮助构建了一个从IT资源管理到业务战略的连贯体系,促进了IT运维与业务服务的紧密结合,推动了业务价值的提升。
在技术层面,智能业务拓扑功能扮演了关键角色。通过IP扫描,平台能够自动识别出业务资源、业务关系、应用进程和服务端口,进而自动生成业务拓扑。这意味着,运维团队可以更加清晰地理解业务流程和各项资源之间的关系,从而更有效地管理它们。

智能业务拓扑
智能业务拓扑还支持以下功能:
引入业务资源、服务端口、指标分析、应用进程等多项表单及图表功能,便于从多维度对监控资源进行更全面的分析利用;
自动识别未纳入监控对象,可手动添加监控操作;对于已监控对象,加入指标趋势图分析,可查看业务维度的指标趋势图,支持同轴分析;
对于拓扑节点,新增Ping功能、终端登录功能;可将当前节点设为扫描起始点;支持排除IP、隐藏/查看下联节点等操作;
业务拓扑自动同步,已监控对象可同步到业务树资源;
告警快照,轮播展示当前拓扑的告警清单;
支持切换拓扑布局为层级布局方式,调整图标布局;支持曲线的连线方式;
全局指标,使用指标映射为数据源,支持配置对象指标和业务指标,应用为所有业务拓扑。

指标分析
至于业务容量分析,这个功能则进一步提高资源利用率。比如,它能够监测和分析业务主机的关键性能指标,对主机容量、CPU使用率趋势、内存使用率趋势、CPU使用率最高TOP5、内存使用率最高TOP5、文件系统容量使用占比、文件系统容量使用率TOP5等进行监测和分析。这样的监测和分析不仅有助于避免资源不足影响业务运行,还能减少资源浪费,确保资源的投入产出比达到最优。

容量分析
全栈监控
超强的采集能力 拥有监控一切的能力
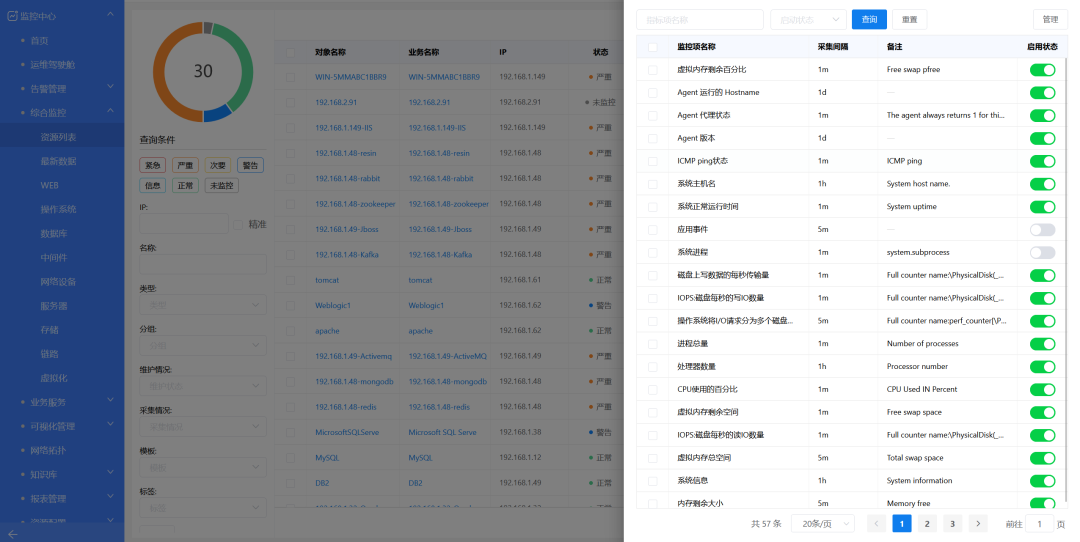
“中亦乐维监控产品”支持广泛的数据采集范围,能够覆盖从存储、网络设备、服务器,到操作系统、中间件、数据库、虚拟化、云计算、容器、物联网、动环设备等各个层面的实时数据采集。平台具备强大的自动发现能力,能够识别和纳管全类型异构IT资源,进而通过一个完善的指标体系,重新定义了资源监控的维度。
更重要的是,它能够筛选出那些真正有价值的监控指标,剔除那些无用的监控数据。这一过程大幅减少了无效数据产生的噪音干扰,有效解决了数据无效、不准确的根本问题。简言之,平台提供了一个更为清晰、更为精准的监控视图,确保运维团队能够基于可靠的信息作出快速响应。

监控能力
开箱即用
一键发现 快速部署
“中亦乐维监控产品”具备强大的用户资源一键发现功能,它能自动识别所有IP资源。根据不同规模的企业需求,平台提供了定制化的部署方案。无论是麒麟、统信、Windows、Linux、AIX等各种系统环境,都支持一键部署安装,使得启动监控变得非常灵活和便捷。
资产发现不仅仅是监控功能的一个方面,它更代表了监控能力的深度展现和进一步扩展。利用先进的资产探测技术和基础设施基因技术,这个平台能够自动识别各类IT资源,快速生成一份详细的资源列表。通过精确配置探测和识别规则,它能够识别出关键业务链依赖的资产,并确定这些资产的防护优先级,使得资源管理更加高效和有序。


自动发现
开放灵活
指标自定义 管理自由化
平台提供了丰富且多样化的监控指标类型,覆盖数十种不同的监控指标,并针对各种设备类型提供预处理功能,确保监控指标的多元化输出。
同时,它采用了具有高伸缩性的高可用分布式架构,为用户提供了灵活的管理权限定义与第三方应用集成能力。
此外,它还与常见CMDB产品兼容,进一步实现了管理的自由化,有效提升了团队的工作效率。


指标管理
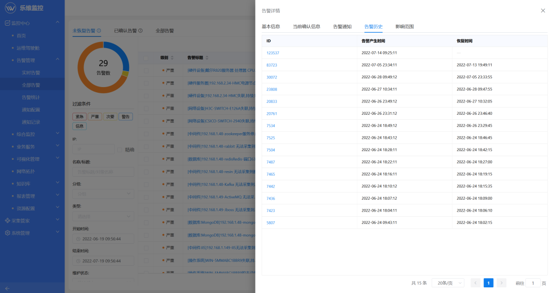
故障影响
分析融合资源和业务 多维度分析
当用户收到告警信息时,系统会利用基础组件对象、拓扑结构以及业务服务等多种功能,协助运维人员执行多角度的故障分析。这种方法让运维团队能够从局部问题(“点”)了解到整体状况(“面”),以便更快速地响应故障,减少由于故障持续时间过长而引起的风险。


故障影响分析
可视化
多维度场景可视化 重构运维管理模式
运维控制台:该控制台实时呈现监控系统的整体运行状态,确保监控系统的稳定运行。它详细展示了包括主机、网络设备、数据库、服务器在内的各种资源的告警状态和关键性能指标。
3D可视化展示:借助3D技术,对数据中心的布局和设施进行真实呈现。这项技术不仅能够在三维空间中对数据中心、机柜和各种设备进行管理,而且还创建了一个可视化的平台,使得数据中心的环境、设备及管理信息一目了然。
仿真控制面板:提供了一系列场景化的数据仿真面板,极大地方便了运维工程师的日常工作。面板内容丰富,包括但不限于Linux、Windows、服务器、Oracle、MySQL、IIS、Apache以及存储等面板。这使得运维工程师可以轻松登录并立即开始工作。
网络拓扑
自动网络拓扑 发现链路瓶颈
采用全局管理的视角,本平台呈现一种左侧为结构树状图,右侧为网络拓扑图的展示方式。它可以自动计算并绘制出网络拓扑图,并通过不同的颜色表示带宽利用率、趋势图显示网络流量、以及通过告警的闪烁提示来标明每个网络资源的状态异常。这一切共同作用,实现了对网络故障的快速定位,并使运维人员能迅速了解到整个网络的运行状况。


网络拓扑
诚邀您亲自体验这一切技术的魅力和便利!只需扫描下方的二维码,即可开启您的全栈监控之旅。现在申请试用,有机会获得license,试用一年。名额有限,先到先得!

扫码,加入我们
开启全栈监控产品新体验!